LJYA型料浆泵为单级单吸立式悬臂式离心液下泵。
100LJYA-50
100:流量(m³/h)
LJYA:料浆泵系列代号
50:扬程(m)
符合API610设计标准,叶轮为半开式,叶轮前后均配有耐磨盖,广泛应用于化工流程输送含30%以下固体颗粒,粘度低于200CP的磨、腐蚀交互作用的介质,特别适用于磷肥工业中输送磷酸、磷铵料浆等介质。输送介质—般低于110℃。如需输送更高温度的介质,应考虑用冷却水冷却轴承。
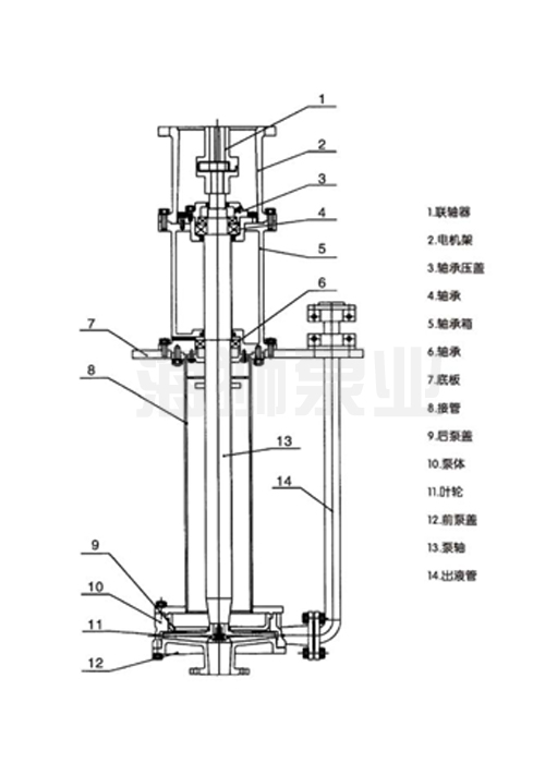
结构图:

特别适用于磷肥工业中输送磷酸、磷铵料浆等介质。 也可用于炼油厂、石油化工、煤化工、发电厂、 海上工业、海水淡化、污水处理、水泥厂等行业和领域。可输送各种含在固体颗粒的中性或强腐蚀性等介质。
流量:10~400m³/h
扬程:10~50m
转速:1450r/min
设计压力:可达2.5MPa
使用温度:-40℃~150℃
上一篇:没有了!
下一篇:没有了!